Задание 2133
Задание 2133
Ларинское
Настя и её друзья собираются поехать в отпуск на 3 недели. Предварительно они наметили маршрут, представленный на схеме (см. выше). Они планируют на велосипедах добраться от города Клюквинск, обозначенного на схеме цифрой 6, до палаточного лагеря (лагерь обозначен на схеме цифрой 5) за 4 дня, а потом поставить там палатки и отдыхать на море. Ребята собираются выехать утром и в первый день добраться до посёлка Яблочко, где живёт дедушка Насти. Там есть залив, в котором можно купаться и плавать на катамаране, что они и собираются делать до обеда следующего дня. Потом планируется доехать до города Хрюм и заночевать там в гостинице. За следующие два дня они собираются доехать до посёлка Шушун, где расположен лагерь, но пока не решили, по какой дороге им ехать. Можно повернуть от города Хрюм направо, поехать вдоль лесничества и переночевать в отеле в деревне Опушки. Лесничество обозначено на схеме цифрой 8. Также после Хрюма можно свернуть налево и доехать в Шушун через посёлок Шода. Второй путь менее загружен транспортом, но дорога там грунтовая, и после дождя на велосипедах ехать нельзя.
Задание 1.
Для объектов, указанных в таблице, определите, какими числами они обозначены на плане. Заполните таблицу. В ответе запишите последовательность четырёх чисел без пробелов и других разделительных символов.
Объекты | Посёлок Шушун | Деревня Опушки | Посёлок Яблочко | Город Хрюм |
Числа |
Задание 2.
Найдите площадь (в км2), которую занимает лесничество.
Задание 3.
Ребята решили, что нужно взять в поездку зелёный чай в пакетиках. Юре поручили купить чай на всех. Сколько пачек чая должен купить Юра, если в компании из 12 человек в день они используют 2 пакетика чая на одного человека и поездка продлится три недели. В каждой пачке 50 пакетиков чая.
Задание 4.
Найдите расстояние (в км), которое проедут ребята от города Хрюм до посёлка Шушун, если пойдёт дождь и они поедут вдоль лесничества.
Задание 5.
Юра выяснил, что его велосипед пришёл в нерабочее состояние. Юра посетил сайты интернет‐магазина «ОК» и магазина «Сипед», расположенного в соседнем доме, чтобы узнать некоторые цены. В этих магазинах можно купить готовый велосипед либо запасные части. Цены на продукцию магазинов и срок доставки из интернет‐магазина даны в таблице.
Товар | Цена в магазине «Сипед» (руб.) | Цена в магазине «ОК» (руб.) | Срок доставки из магазина «ОК» (дни) |
Подсветка для спицы 190 180 12 | 190 | 180 | 12 |
Шина (вид А) 680 650 10 | 680 | 650 | 10 |
Шина (вид Б) 1 490 1 150 8 | 1490 | 1150 | 8 |
Спица 70 70 3 | 70 | 70 | 3 |
Педаль (вид В) 437 405 3 | 437 | 405 | 3 |
Педаль (вид Г) 860 750 2 | 860 | 750 | 2 |
Тормоз (вид Д) 1 130 нет – | 1130 | нет | - |
Тормоз (вид Е) нет 1 380 2 | нет | 1380 | 2 |
Набор крепёжных изделий 740 765 14 | 740 | 765 | 14 |
Юру устраивает срок доставки, и он решил приобрести детали в интернет‐магазине «ОК». Он готов потратить на ремонт не более 5 000 рублей и при этом хочет купить самый дорогой набор деталей для ремонта велосипеда, который может себе позволить. Ему нужно купить три спицы, две шины (одного вида), две педали (одного вида), тормоз и подсветку на спицы. Сколько рублей Юра потратит на набор запасных частей?
Задание 1762
Ларинское
Владелец собирается провести ремонт своей квартиры. На плане (см. выше) изображена будущая расстановка мебели и бытовой техники на кухне после ремонта. Сторона каждой клетки на плане равна 0,4 м. Кухня имеет прямоугольную форму. Единственная дверь кухни деревянная, в стене напротив двери расположено окно. Справа от двери будут поставлены полки для посуды, слева от двери будет холодильник. Слева от холодильника, в углу кухни, предполагается смонтировать раковину. Между раковиной и газовой плитой будет собран буфет, отмеченный на плане цифрой 2. Площадь, занятая буфетом, по плану будет равна 0,96 м2. В центре кухни планируется поставить обеденный стол.
Пол кухни (в том числе там, где будет стоять мебель и бытовая техника) планируется покрыть плиткой в размере 40 см × 40 см. Кроме того, владелец квартиры планирует смонтировать на кухне электрический подогрев пола. Чтобы сэкономить, владелец не станет проводить обогрев под холодильник, газовую плиту, буфет, раковину и полки для посуды, а также на участок площадью 0,32 м2 между буфетом и раковиной.
1. Для объектов, указанных в таблице, определите, какими цифрами они обозначены на плане. Заполните таблицу, в ответе запишите последовательность четырёх цифр без пробелов, запятых и других разделительных символов.
| Объекты | Стол | Холодильник | Газовая плита | Раковина |
| Цифры |
2. Плитка для пола продаётся в упаковках по 5 штук. Сколько упаковок плитки нужно купить, чтобы покрыть пол кухни?
3. Найдите площадь той части кухни, на которой будет смонтирован электрический подогрев пола. Ответ дайте в м2.
4. Найдите расстояние (по прямой) между противоположными углами обеденного стола. Ответ дайте в метрах.
5. Владелец квартиры выбирает холодильник из двух моделей А и Б. Цена холодильников и их среднее суточное потребление электроэнергии указаны в таблице. Цена электроэнергии составляет 4 рубля за кВт∙ч. Обдумав оба варианта, владелец квартиры выбрал модель А. Через сколько лет непрерывной работы экономия от меньшего расхода электроэнергии окупит разницу в цене этих холодильников? Ответ округлите до целого числа.
| Модель | Цена (руб.) | Среднее потребление электроэнергии в сутки (кВт∙ч) |
| А | 34 600 | 0,8 |
| Б | 31 000 | 1,1 |
Больше разборов вы найдете на моем ютуб-канале! Не забудьте подписаться!
Задание 1810
Ларинское
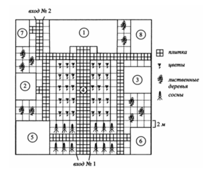
На плане (см. рис. выше) изображён «Живой уголок» городского парка. Сторона каждой клетки на плане равна 2 м. Участок имеет прямоугольную форму. Имеются ворота для служебного пользования и вход для посетителей.
Прямая дорожка, которая начинается от входа и ведёт к павильону с домашними животными, делит «Живой уголок» на служебную зону и зону для посетителей. В служебной зоне сразу у входа находится касса, в которой можно также приобрести корм для животных, а за ней помещение, где размещены склад и администрация. Слева от служебных ворот находится ветеринарный пункт. Если свернуть от входа для посетителей вправо и пойти по дорожке, то слева от неё мы увидим пруд для водоплавающих птиц, отмеченный цифрой 5, а продолжив движение вперёд, придём к вольеру со страусами. В вольере, отмеченном цифрой 7, живёт северный олень, его соседи за стеной – павлины. Напротив пруда, между помещениями для страусов и павлинов, живут ламы. Все дорожки территории «Живого уголка» имеют ширину 1 м и вымощены тротуарной плиткой размером 1 м × 1 м. Стоянка для служебного транспорта вымощена такой же плиткой, её площадь равна 64 м2.
1. Для объектов, указанных в таблице, определите, какими цифрами они обозначены на плане. Заполните таблицу, в ответе запишите последовательность четырёх цифр без пробелов, запятых и других разделительных символов.
| Объекты | Вольер павлинов | Ветеринарный пункт | Павильон с домашними животными | Вольер страусов |
| Цифры |
2. Тротуарная плитка продаётся в упаковках по 6 штук. Сколько упаковок плитки понадобилось купить, чтобы выложить все дорожки «Живого уголка» и площадку для служебного транспорта?
3. Найдите площадь, которую занимает помещение для домашних животных. Ответ дайте в квадратных метрах.
4. Найдите расстояние от ветеринарного пункта до пруда (расстояние между двумя ближайшими точками по прямой) в метрах.
5. Администрация «Живого уголка» для того, чтобы поить животных, а также менять воду в пруду, производить уборку и для других нужд, вынуждена использовать 14 м3 привозной воды в неделю. Доставка воды в неделю обходится в 4000 рублей. В настоящее время получено разрешение на бурение скважины прямо на территории «Живого уголка». Разведывательные работы показали, что водоносный слой находится на глубине 22 метров. После консультаций со специалистами стали известны предстоящие расходы. Цены на оборудование для бурения скважины, стоимость работ приведены в таблице.
Через сколько недель после начала эксплуатации затраты на установку и использования скважины окупятся, если объём потребления воды не изменится? Ответ округлите до целого числа.
| Цена бурения (руб./м) | 1300 |
| Цена 1 м труб (руб.) | 600 |
| Цена насоса мощностью 2 кВт (руб.) | 5000 |
| Производительность насоса (м3/ч) | 1 |
| Цена 1 КВт∙ч электроэнергии (руб.) | 3,5 |
Больше разборов вы найдете на моем ютуб-канале! Не забудьте подписаться!
Задание 2076
Ларинское
Владелец собирается провести ремонт своей квартиры. На плане (см. выше) изображена будущая расстановка мебели и бытовой техники на кухне после ремонта. Сторона каждой клетки равна 0,4 м. Кухня имеет прямоугольную форму. Единственная дверь кухни деревянная, в стене напротив двери расположено окно.
Справа от двери будут поставлены полки для посуды, слева от двери будет холодильник. Слева от холодильника, в углу кухни, предполагается смонтировать раковину. Между раковиной и газовой плитой будет собран буфет, отмеченный на плане цифрой 2.
В центре кухни планируется поставить обеденный стол.
Пол кухни (в том числе там, где будет стоять мебель и бытовая техника) планируется покрыть плиткой размером 40 см × 40 см. Кроме того, владелец квартиры планирует смонтировать на кухне электрический подогрев пола. Чтобы сэкономить, владелец не станет подводить обогрев под холодильник, газовую плиту, буфет, раковину и полки для посуды, а также на участок площадью 0,32 м2 между буфетом и раковиной.
Задание 1.
Для объектов, указанных в таблице, определите, какими цифрами они обозначены на плане. Заполните таблицу. В ответе запишите последовательность четырёх цифр без пробелов и других разделительных символов.
| Объекты | Стол | Холодильник | Плита | Раковина |
| Цифры |
Задание 2.
Плитка для пола продаётся в упаковках по 5 штук. Сколько упаковок плитки нужно купить, чтобы покрыть пол в кухне?
Задание 3.
Найдите площадь (в м2) той части кухни, на которой будет смонтирован электрический подогрев пола.
Задание 4.
Найдите расстояние (по прямой) между противоположными углами обеденного стола. Ответ дайте в метрах.
Задание 5.
Владелец квартиры выбирает холодильник из двух моделей «А» и «Б». Цена холодильников и их среднее суточное потребление электроэнергии указаны в таблице. Цена электроэнергии составляет 4 рубля за 1 кВт∙ч.
| Модель | Цена (руб.) | Среднее потребление электроэнергии в сутки (кВт∙ч) |
| «А» | 34 600 | 0,8 |
| «Б» | 31 000 | 1,1 |
Обдумав оба варианта, владелец квартиры выбрал модель «А». Через сколько лет непрерывной работы экономия от меньшего расхода электроэнергии окупит разницу в цене этих холодильников? Ответ округлите до целого числа.
Задание 2238
Ларинское
На плане (см. рисунок) с размером клетки 20 см × 20 см изображена схема размещения шкафов на одной из стен кухни. Номером 1 обозначен шкаф для посуды, а номером 14 – плита, над которой находится вытяжка. Слева от плиты находится мойка, над ней – сушилка, справа от плиты – посудомоечная машина, затем стиральная машина. В конце стенки расположен холодильник и морозильная камера, обозначенная цифрой 8. Другие шкафы, расположенные в верхнем ряду, служат для хранения сыпучих продуктов и специй. В нижнем модуле есть шкаф для средств бытовой химии, обозначенный цифрой 2. Между верхними и нижними шкафами расположен «фартук», который выложен плиткой разного цвета: коричневого, красного, жёлтого и белого, размером 20 см × 20 см. В правом верхнем углу «фартука» поверх двух плиток установлен блок розеток, на плане он обозначен номером 13.
1. Для объектов, указанных в таблице, определите, какими числами они обозначены на плане. Заполните таблицу. В ответе запишите последовательность четырёх чисел без пробелов и других дополнительных символов.
| Объекты | Холодильник | Стиральная машина | Мойка | Посудомоечная машина |
| Числа |
2. Сколько понадобится плиток красного цвета для «фартука», если плиток каждого цвета нужно равное количество?
3. Найдите объём (в литрах) шкафа для посуды, если его глубина 60 см.
4. Найдите кратчайшее расстояние (в см) от блока розеток до плиты.
5. Хозяйка планирует установить варочную панель на плите: газовую либо электрическую. Цены на оборудование и стоимость его установки, данные о расходе газа и электроэнергии и их стоимости представлены в таблице.
| Панель | Стоимость панели и оборудования к ней (руб.) | Монтаж и установка (руб.) | Средний расход в месяц | Тариф |
| Газовая | 23 400 | 9 375 | 13 м3 | 5 руб./м3 |
| Электрическая | 21 600 | 8 900 | 156 кВт∙ч | 2,5 руб./(кВт∙ч) |
Обдумав оба варианта, хозяйка решила установить газовую варочную панель. Через сколько месяцев работы этой панели экономия от использования газа вместо электричества компенсирует разность в стоимости оборудования и установки газовой и электрической панели?
Больше разборов вы найдете на моем ютуб-канале! Не забудьте подписаться!
Задание 2266
Ларинское
На плане (см. рисунок) изображён план участка. Участок имеет прямоугольную форму, въезд и выезд осуществляется через единственные ворота.
Слева от въезда на участок расположен сарай, а справа – бассейн, имеющий форму восьмиугольника. Вокруг бассейна высажена газонная трава (участок для травы отмечен цифрой 6). В правом от въезда углу выделен участок под ели. От площадки при въезде, вымощенной тротуарной плиткой, ведёт одна тротуарная дорожка, которая упирается в дорожку между домом и теплицей, имеющей площадь 48 кв. м. Вокруг бассейна со всех сторон выложена тротуарная плитка. Некоторые плитки получаются разрезанием квадратной плитки по диагонали. Все дорожки имеют ширину 1 м и вымощены такой же плиткой размером 1 м × 1 м. В теплице будут выращиваться помидоры для продажи на овощном рынке
1. Для объектов, указанных в таблице, определите, какими цифрами они обозначены на плане. Заполните таблицу. В ответе запишите последовательность четырёх чисел без пробелов и других дополнительных символов.
| Объекты | Участок под ели | Бассейн | Сарай | Теплица |
| Цифры |
2. Тротуарная плитка продаётся в упаковках по 5 штук. Какое наименьшее число упаковок плитки понадобится, чтобы выложить ими все дорожки и площадки, отмеченные на плане?
3. Найдите площадь бассейна (в м2).
4. В теплице между стенками параллельно её основанию натягивают куски проволоки для подвязывания кустов с помидорами. Найдите максимальную длину (в метрах) проволоки, которую можно натянуть между двумя точками на стенках.
У хозяина есть выбор при определении вида крыши теплицы: стеклянная или поликарбонатная. Стоимость работ по изготовлению крыши, необходимых материалов для этого, а также средняя стоимость помидоров приведены в таблице. В теплице планируется выращивать в среднем 300 кг помидоров за сезон для продажи на овощном рынке.
| Фирма | Стоимость работ по изготовлению крыши (руб.) | Стоимость материалов (руб.) | Предполагаемая средняя цена помидоров (руб./кг) |
| Стеклянная | 30 000 | 6 000 | 50 |
| Поликарбонатная | 15 000 | 9 000 | 30 |
5. Через сколько сезонов будет компенсирована разность между стоимостью изготовления стеклянной крыши и стоимостью крыши из поликарбоната (включая стоимость материалов), если хозяин решит установить стеклянную крышу?
Больше разборов вы найдете на моем ютуб-канале! Не забудьте подписаться!
Задание 2280
Ларинское
На плане (см. рисунок) изображена вертолётная взлётно‐посадочная площадка, которую требуется построить. Сначала будет строиться квадратная площадка размером 20 м × 20 м, а затем к ней будут пристраиваться 4 одинаковые прямоугольные площадки 20 м × 14 м так, как показано на плане. Точками A1 , A2 , …, A12 отмечается внешний периметр площадки.
1. В нижней строке таблицы укажите нижний индекс точек, симметричных соответствующим точкам, указанным в верхней строке таблицы, относительно центра симметрии площадки. Заполните таблицу. В ответе запишите последовательность четырёх цифр без пробелов и других дополнительных символов.
2. Планируется для 1 м2 площадки использовать 4 кг покрытия. Какое наименьшее число банок покрытия понадобится для всей площадки, если оно будет приобретаться банками по 15 кг?
| Точки | A1 | A3 | A5 | A7 |
| Числа |
3. Найдите периметр (в м) вертолётной площадки.
4. Найдите наибольшее расстояние (в метрах) между произвольными точками внешнего периметра площадки.
5. Стоимость покрытия, стоимость работ по его нанесению и расходы на эксплуатацию указаны в таблице.
| Фирма | Стоимость покрытия (руб.) | Стоимость работ по нанесению покрытия (руб.) | Стоимость эксплуатации (руб./год) |
| «Ореол» | 130 000 | 20 000 | 6 000 |
| «Оптимист» | 120 000 | 12 000 | 9 000 |
Заказчик решил закупить покрытие у фирмы «Ореол». Через сколько лет экономия от уменьшения стоимости эксплуатации этого покрытия компенсирует разность в стоимости покрытия и его нанесения по сравнению с вариантом от фирмы «Оптимист»?
Больше разборов вы найдете на моем ютуб-канале! Не забудьте подписаться!
Задание 2461
Ларинское
На плане (см. рисунок) изображён парк культуры и отдыха города Малый. Сторона каждой клетки равна 2 м. Парк имеет прямоугольную форму. Зайти в парк можно через один из двух входов: западный или восточный. Если зайти в парк через западный вход, то слева будет расположено кафе «Полдник», а справа – детская площадка. Рядом с детской площадкой посажены каштаны. Рядом с восточным входом располагаются общественные туалеты и бадминтоновая площадка, обозначенная на плане цифрой 7. Помимо указанных объектов, в парке имеются фонтан (отмечен цифрой 2) и сцена. Все дорожки в парке ширину 2 м и вымощены тротуарной плиткой 1 м × 1 м. Между фонтаном и сценой имеется площадка, вымощенная такой же плиткой.
1. Для объектов, указанных в таблице, определите, какими цифрами они обозначены на плане. Заполните таблицу. В ответе запишите последовательность четырёх цифр без пробелов и других дополнительных символов.
| Объекты | Сцена | Туалеты | Детская площадка | Кафе |
| Цифры |
2. Тротуарная плитка продаётся в упаковках по 10 штук. Сколько упаковок плитки понадобилось купить, чтобы выложить все дорожки и площадку между сценой и фонтаном?
3. Найдите площадь (в м2), которую занимает бадминтонная площадка.
4. Детскую площадку планируется огородить заборчиком. Найдите длину этого заборчика в метрах.
5. Для остекления витрин кафе «Полдник» требуется заказать 30 одинаковых стёкол в одной из трёх фирм. Площадь каждого стекла 0,7 м2. В таблице приведены цены на стекло и на резку стекла. Сколько рублей будет стоить самый дешёвый заказ?
| Фирма | Цена стекла (руб./м2) | Резка стекла (руб./шт.) | Дополнительные условия |
| «Вени» | 560 | 35 | – |
| «Види» | 570 | 24 | При заказе на сумму свыше 15 000 рублей резка бесплатна |
| «Вици» | 600 | 13 | При заказе на сумму свыше 12 500 рублей резка бесплатна |
Больше разборов вы найдете на моем ютуб-канале! Не забудьте подписаться!
Задание 2534
Ларинское
Сергей Васильевич – крупный учёный. На рисунке изображён план двухэтажного дома (сторона клетки соответствует 1 м), в котором он проживает с женой Валентиной Петровной и двумя детьми: Костей и Викой. На первом этаже гостиная – самая большая по площади комната. Кухня имеет вытянутую форму, её длина в два раза больше ширины, она тоже находится на первом этаже. Рядом с гостиной расположена столовая. Комната Кости расположена на втором этаже над кухней, его комната – соседняя с комнатой сестры Вики. Комната родителей расположена над столовой, рядом с ней просторный кабинет Сергея Васильевича.
1. Для объектов, указанных в таблице, определите, какими цифрами они обозначены на плане. Заполните таблицу. В ответе запишите последовательность четырёх цифр без пробелов и других дополнительных символов.
| Объекты | Гостиная | Комната Кости | Кабинет | Кухня |
| Цифры |
2. На втором этаже расположен открытый балкон. На его бортике закреплены деревянные поручни. Определите их общую протяжённость в метрах.
3. Найдите площадь (в м2) комнаты Вики.
4. В каждой из пронумерованных комнат, кроме Костиной, два окна, а в Костиной – всего одно. Других окон нет. Площадь стекла для каждого окна составляет 3 м2. Стоимость окон при установке складывалась из стоимости стекла (3000 рублей за м2 окна) и стоимости монтажа и фурнитуры (7000 рублей за каждое окно). Определите общую стоимость всех окон и их установки. Ответ дайте в рублях.
5. После постройки дома денег на внутреннюю отделку осталось меньше, чем планировалось первоначально, поэтому пришлось экономить. В гостиной и столовой предполагалось класть паркетную доску, но обошлись ламинатом, а на сэкономленные деньги приобрели туристические путёвки в Крым. Ламинат и паркетная доска продаются только в упаковках. Каждая упаковка содержит одинаковое количество м 2 материала. Сколько рублей в результате удалось сэкономить на путёвки?
| Тип покрытия | Стоимость 1 м2 материала (руб.) | Стоимость укладки 1 м2 материала (руб.) | Количество материала в упаковке (м2) |
| Паркетная доска | 3 200 | 1 100 | 10 |
| Ламинат | 520 | 180 | 7 |
Больше разборов вы найдете на моем ютуб-канале! Не забудьте подписаться!
Задание 2553
Ларинское
На плане (см. рисунок) представлен дизайн‐проект сквера в станице Лужки. Сторона большой клетки равна 2 метра. Участок, отведённый под сквер, имеет квадратную форму. По периметру участка планируется установить забор. С двух сторон сквера будут два входа. Если зайти в сквер, то справа от входа № 1 будет располагаться карусель, а слева – детский игровой комплекс, отмеченный на плане цифрой 5. Дом творчества будет находиться слева, если зайти через вход № 2, а зооуголок – справа. Центр сквера, отмеченный цифрой 4, планируется украсить фонтаном диаметром 2 метра и двумя цветочными клумбами. Рядом с детским игровым комплексом построят кафе, рядом с каруселью – кинотеатр площадью 64 м2. За кинотеатром будет оборудована тренажёрная площадка, отмеченная цифрой 8. На территории сквера шириной 2 м будут выложены тротуарной плиткой. Размером 1 м × 1 м. Аллея шириной 4 м располагается от входа № 1 до Дома творчества и выложена той же плиткой, что и дорожки.
1. Для объектов, указанных в таблице, определите, какими цифрами они обозначены на плане. Заполните таблицу. В ответе запишите последовательность четырёх цифр без пробелов и других дополнительных символов.
| Объекты | Дом творчества | Кинотеатр | Кафе | Зооуголок |
| Цифры |
2. Тротуарная плитка продаётся в упаковках по 3 штуки. Сколько упаковок понадобится купить, чтобы выложить аллею от входа № 1 до Дома творчества?
3. Найдите площадь (в м2) земли, которую занимает Дом творчества.
4. Найдите наибольший возможный радиус карусели (в метрах).
5. При обсуждении, каким должен быть забор, рассматривалось два варианта: кованый или комбинированный. Цены на доставку оборудования и на установочные работы, а также стоимость изготовления одного погонного метра забора представлены в таблице. На сколько рублей общая стоимость кованного забора меньше общей стоимости комбинированного забора?
| Вариант забора | Стоимость доставки (руб.) | Стоимость установки (руб.) | Стоимость изготовления 1 погонного метра забора (руб.) |
| Кованый | 3 500 | 5 130 | 1000 |
| Комбинированный | 3 000 | 5 300 | 1300 |
Больше разборов вы найдете на моем ютуб-канале! Не забудьте подписаться!
Задание 2573
Ларинское
На плане (см. рисунок) изображена местность, прилегающая к озеру Круглому. Для удобства план нанесён на квадратную сетку, сторона каждого квадрата которой равна 500 м. Населённые пункты обозначены на плане жирными точками. Рядом с озером Круглое находится болото, обозначенное на плане штриховкой. На болоте расположен хутор Камышино. От хутора Камышино проложена дорога к деревне Дубки, вокруг которой имеются дубовые рощи. Далее дорога идёт к селу Большое, расположенному по другую сторону озера от хутора Камышино. Село Большое соединено также дорогой с деревней Малая, обозначенной на плане цифрой 7. Деревня Малая, в свою очередь, соединена дорогой с деревней Дальней (отмечена цифрой 4). Преобладающая часть изображённой на плане местности – это поля, используемые для выращивания злаков.
1. Для объектов, указанных в таблице, определите, какими цифрами они обозначены на плане. Заполните таблицу. В ответе запишите последовательность четырёх цифр без пробелов и других дополнительных символов.
| Объекты | Хутор Камышино | Село Большое | Озеро Круглое | Деревня Дубки |
| Цифры |
2. Автомобиль расходует в среднем 9 л топлива на 100 км пути. Сколько литров топлива израсходует автомобиль при поездке из хутора Камышино в деревню Малая по имеющимся дорогам?
3. Найдите площадь (в км2) болота, отмеченного на плане.
4. Найдите расстояние (в метрах) по прямой от хутора Камышино до села Большое.
5. Для улучшения сообщения между населёнными пунктами планируется построить ещё одну дорогу: из хутора Камышино в деревню Малая либо из хутора Камышино в деревню Дальняя. Дорога должна соединить населённые пункты по прямой. Цена прокладки дороги по полю равна 10 млн рублей за 1 км, по болоту – 20 млн рублей за 1 км. Из указанных двух вариантов дороги выберете тот, стоимость которого будет ниже. В ответе укажите стоимость (в млн рублей) выбранного варианта дороги.
Больше разборов вы найдете на моем ютуб-канале! Не забудьте подписаться!
Задание 2590
Ларинское
Андрей и его друзья собираются поехать в отпуск на две недели. Предварительно они наметили маршрут, представленный на рисунке. Они планируют на велосипедах добраться от города Гранюк до кемпинга, обозначенного на рисунке цифрой 7, за 4 дня, а потом поставить там палатки и отдыхать в море. Друзья собираются выехать рано утром и в первый день добраться до хутора Южный, где живёт бабушка Андрея. Там есть озеро, в котором можно купаться и ловить рыбу, что они и собираются делать до обеда следующего дня. Потом планируется доехать до посёлка Быково и заночевать там в мини‐отеле. На следующий день они собираются проехать 24 км до города Гусевск вдоль степного заказника и переночевать в одной из гостиниц. Заказник обозначен на рисунке цифрой 8. Из Гусевска в посёлок Домарку, где расположен кемпинг, можно доехать напрямую или через деревню Астрелка. Прямой путь короче, но там в эти дни идёт ремонт дороги, и пока неизвестно, где можно будет проехать быстрее.
1. Для объектов, указанных в таблице, определите, какими цифрами они обозначены на рисунке. Заполните таблицу. В ответе запишите последовательность четырёх цифр без пробелов и других дополнительных символов.
| Объекты | Горд Гранюк | Деревня Астрелка |
Хутор Южный |
Город Гусевск |
| Цифры |
2. Ребята решили, что нужно взять в поездку чай в пакетиках определённого сорта. Оксане поручили купить чай на всех. Сколько пачек чая должна купить Оксана, если в компании 8 человек, в день они выпивают в среднем 3 пакетика на одного человека и поездка продлится две недели? В каждой пачке 25 пакетиков чая.
3. Найдите площадь (в км2), которую занимает заказник.
4. Все могут пойти в отпуск с 15 июля, кроме Григория и Марии, которым в этот день нужно работать. Они готовы выехать 16 июля и догнать остальную группу в посёлке Быково, не заезжая на хутор Южный. Найдите расстояние, которое проедут Григорий и Мария от города Гранюк до Быково. Ответ дайте в километрах.
5. Андрей выяснил, что его велосипед пришёл в нерабочее состояние. Андрей посетил сайты интернет‐магизина «ОК» и магазина «Вело», расположенного в соседнем доме, чтобы узнать некоторые цены. В этих магазинах можно купить готовый велосипед либо запасные части. Цены на продукцию магазинов и срок доставки из интернет‐ магазина даны в таблице.
| Продукция | Цена в магазине «Вело» (руб.) | Цена в магазине «ОК» (руб.) | Срок доставки из магазина «ОК» (дни) |
| Подсветка для спиц | 190 | 180 | 3 |
| Шина вида «А» | 680 | 650 | 12 |
| Шина вида «Б» | 1680 | 1450 | 12 |
| Спица | 70 | 80 | 3 |
| Педаль вида «А» | 437 | 405 | 10 |
| Педаль вида «Б» | 860 | 750 | 10 |
| Тормоз вида «А» | 1130 | нет | 10 |
| Тормоз вида «Б» | нет | 2180 | 10 |
| Набор крепёжных изделий | 740 | 765 | 14 |
Андрея не устраивает срок доставки деталей из интернет‐магазина, и он решил приобрести детали в магазине «Вело». Он готов потратить на ремонт не более 6000 рублей и при этом хочет купить самый дорогой набор для ремонта велосипеда, который может себе позволить. Ему нужно купить 5 спиц, 2 шины (одного вида), 2 педали (одного вида), тормоз (любого вида) и набор крепёжных изделий. Сколько рублей Андрей потратит на набор запасных частей?
Больше разборов вы найдете на моем ютуб-канале! Не забудьте подписаться!
Задание 2608
Ларинское
Владелец собирается провести ремонт своей квартиры. На плане (см. рисунок) изображена предполагаемая расстановка мебели и бытовой техники на кухне после ремонта. Сторона каждой клетки равна 0,3 м. Кухня имеет квадратную форму. Единственная дверь кухни деревянная, в стене напротив двери расположено окно. Справа от двери будут поставлены полки для посуды, слева от двери будет смонтирована раковина для мытья посуды. В углу слева от окна предполагается разместить газовую плиту. Между раковиной и плитой будет собран буфет, отмеченный цифрой 3. Площадь, занятая буфетом, по плану будет равна 0,72 м2. В центре кухни планируется поставить обеденный стол. Кроме того, в угол кухни будет поставлен холодильник, занимающий 0,36 м2 пола. Пол кухни (в том числе там, где будет стоять мебель и бытовая техника) планируется покрыть плиткой размером 30 см × 30 см. Кроме того, владелец квартиры планирует смонтировать на кухне электрический подогрев пола. Чтобы сэкономить, владелец не станет подводить обогрев под холодильник, плиту, буфет, раковину и полки для посуды, а также на участок площадью 0,18 м2 между буфетом и плитой.
1. Для объектов, указанных в таблице, определите, какими цифрами они обозначены на плане. Заполните таблицу. В ответе запишите последовательность четырёх цифр без пробелов и других дополнительных символов.
| Объекты | Стол | Холодильник | Плита | Раковина |
2. Плитка для пола продаётся в упаковках по 5 штук. Сколько упаковок плитки нужно купить, чтобы покрыть пол кухни?
3. Найдите площадь той части кухни, на которой будет смонтирован электрический подогрев пола. Ответ дайте в м2.
4. Найдите расстояние (по прямой) между противоположными углами обеденного стола. Ответ дайте в метрах.
5. Владелец квартиры выбирает холодильник из двух моделей А и Б. Цена холодильников и их среднее суточное потребление электроэнергии указаны в таблице. Цена электроэнергии составляет 4 рубля за кВт∙ч.
| Модель | Цена холодильника (руб) | Среднее потребление электроэнергии в сутки, кВт∙ч |
| А | 30 000 | 0,7 |
| Б | 28 000 | 0,9 |
Обдумав оба варианта, владелец квартиры выбрал модель А. Через сколько лет непрерывной работы экономия от меньшего расхода электроэнергии окупит разницу в цене этих холодильников? Ответ округлите до целого числа.
Больше разборов вы найдете на моем ютуб-канале! Не забудьте подписаться!

